



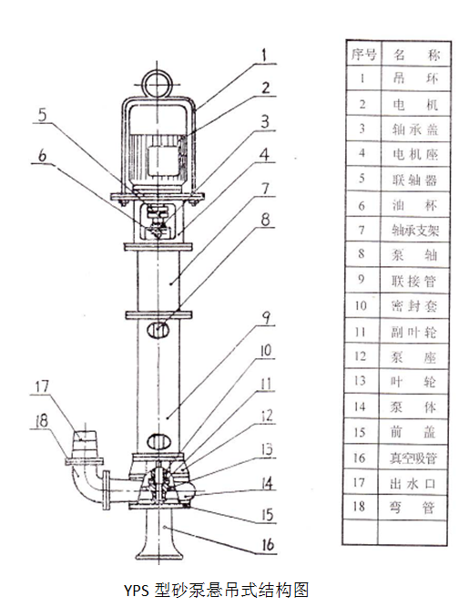
YP型多用液下泵葉輪必須沉入液體內部才能正常工作,也可真空抽吸,每種泵都各有幾種不同的長度規格。





液下泵是一種單螺桿式輸送泵,它的主要工作部件是偏心螺旋體的螺桿(稱轉子)的內表面呈雙線螺旋面的螺桿襯套(稱定子)。其工作原理是當電動機帶動泵軸轉動時,螺桿一方面繞本身的軸線旋轉,另一方面它又沿襯套內表面滾動,于是形成泵的密封腔室。螺桿每轉一周,密封腔內的液體向前推進一個螺距,隨著螺桿的連續轉動,液體以螺旋形方式從一個密封腔壓向另一個密封腔,最后擠出泵體。
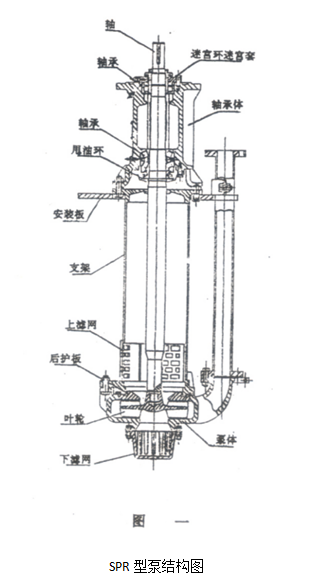
SPR型泵浸入液下的零部件均帶橡膠外襯,適用于輸送無棱角的磨蝕性渣漿。
根據渣漿池液面的高低,可選擇不同長度的泵傳動軸或吸入管。
采用多種速度和多種變型方式,使得泵在最佳工況下運行,使用壽命長,運行效益高,能滿足多類惡劣的輸送條件。
型號 | 流量 m3/h | 揚程m | 轉速r/min | 電機功率kw | 葉輪直徑 mm | 出口直徑 mm | 效率% |
40PV-SP | 10.1~20.9 | 10.3~20.9 | 1420 | 2.2 | 188 | 40 | 30~38 |
如果您正在尋找相關產品,或者有其他問題,可隨時撥打金鵬礦業機械服務熱線,或點擊下方按鈕與我們在線交流!